Detektory úniku plynu
Osobní detektor topných plynů KD-02 │ Detektor topných plynů pro kotelny DSD-01
Osobní detektor topných plynů KD-02
| detektor pro měření úniku na armaturách měří zemní plyn,PB, a CO možnost funkce jako monitor - úsporný provoz napájení na aku, včetně nabíječky |
Detektor KD2 (pro kotelny)
Charakteristika detektoru KD2:
- Dvoučidlový, mikropočítačem řízený indikátor oxidu uhelnatého a hořlavých plynů pro kotelny, průmyslové provozy i domácnosti s plynovým vytápěním.
- Vhodný pro trvalou i pravidelnou kontrolu vnitřního prostoru, lze ho použít i k vyhledávání úniku, možnost napojení na další zařízení.
- Inteligentní přístroj který lze s výhodou použít v kotelnách místo detekčních trubiček.
- Příslušenstvím je síťový adaptér k dobíjení akumulátoru i pro trvalou detekci.
Přednosti:
- jednoduchá obsluha, malé rozměry, dostatečný rozsah detekce pro běžnou praxi
- osmibodová světelná stupnice, akustická signalizace proměnná s koncentrací plynu
- provoz na akumulátor i na elektrickou síť, samočinné dobíjení akumulátoru
- paměť nejvyšší detekované koncentrace
- uzpůsobený pro zavěšení na zeď, přenosné "kapesní" provedení
- možnost doplnit elektrický výstup, nebo dobíjet detektor v automobilu
- výrobek má certifikát zkušebny, záruku 2 roky, životnost min. 7 let
- v praxi prověřen velkou řadou výtopen, desítkami techniků (cukrovary, teplárny, atd. Z největších odběratelů např.: Elektrárny Opatovice a.s.)
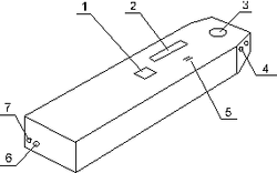
Detektor KD2 s hlavicí (pro techniky)
Odlišnosti detektoru KD2 s hlavicí:
- hlavice o průměru 10mm na kroucené šňůře délky 1,2m umožní pohodlné hledání netěsností v hůře přístupných částech zařízení
- provoz na akumulátor, při detekci hořlavých plynů, má o 50% delší trvání
- je vhodný pro plynárenské, revizní a servisní techniky
- lze ho doplnit praktickým pouzdrem, KD2 s hlavicí není konstruován pro zavěšení na zeď
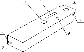
Rozmístění prvků detektoru:
Technické údaje detektoru:
| Rozsah indikace | CH4: 0,03 až 4 % objemu CO: 0,002 až 0,04 % objemu |
| Pracovní teplota | 0°C až +40°C |
| Napájení | vnitřní akumulátor 9V /síťový adaptér 12V,300mA |
| Doba provozu KD2 | 1 až 20 hodin na akumulátor (dle druhu provozu) |
| Doba provozu KD2h | 1,5 až 20 hodin na akumulátor (dle druhu provozu) |
| Rozměry/hmotnost | 150 x 50 x 23mm / 120g |
| Schválení | KD2 je schválen do prostor "bez nebezpečí výbuchu" (certifikát VVUÚ Ostrava-Radvanice) |
| Vybavení | síťový adaptér na 230V, akumulátor 9V/160mAh NIMH (uvnitř přístroje) |
Detektor topných plynů pro kotelny DSD-01
| zemní plyn nebo propan-butan, optická i akustická signalizace dva stupně spínání, impulsně nebo trvale 12V nebo 230V výstup vybaven sirénou pro I. stupeň |
Stabilní detektor DSD-01 slouží k trvalému měření koncentrace topných plynů. Je vhodný zejména pro použití v plynových kotelnách, protože splňuje požadavky normy ČSN 07 0703 pro provoz plynových kotelen, která jej předepisuje jako povinné vybavení. Detektor lze použít v prostorách bez nebezpečí výbuchu. Funkce detektoru je v souladu s normou ČSN EN 500 54 pro dvoustupňové signalizátory úniku plynu. Konstrukce detektoru odpovídá krytí IP 40 pro normální prostředí a požadavkům normy ČSN EN 610 10-1/95 + A2/97.
- dvoustupňová signalizace při koncentraci 10% DMV a 20% DMV beznapěťovými přepínacími kontakty zatížitelnými 250Vst / 8A
- volitelná funkce spínání výstupních relé TRVALE nebo PULSNĚ
- akustická signalizace piezo 102 dB
- rozlišená optická signalizace I. a II. stupně
- jednoduchá montáž na stěnu
- připojení napájecími a ovládacími kabely vedenými vývodkami PG9 na WAGO svorky
- certifikáty ze skušeben EZÚ Praha-Troja a VVUÚ Ostrava-Radvanice
- dodává se společně se čtyřmi vruty a hmoždinkami pro montáž na stěnu
| Indikovaný plyn | zemní plyn nebo popan-butan |
| Napájení | síťové |
| Signalizační meze | 10% DMV ± 4% a 20% DMV ± 4% |
| Pracovní teplota | +5° C až +40° C |
| Teplotní závislost | - 0,2% DMV / 1° C |
| Indikace | optická (LED diody) akustická (piezoměnič 102 dB) |
| Rozměry | 187 x 135 x 75 mm |
| Hmotnost | 650g |
| Životnost čidla | 7 let |
Kontakt
SEKO-SKUTEČ CZ s r.o.
zapsaná v ob.rejs.u KS v HK spis znač. C 41700
IČO: 07135840
DIČ: CZ07135840
Tel.: 469 350 206
mobil: 776 322 292
mobil: 777 249 864


